1.【#ST金刚董事长被采取强制措施#,公司股价却强势涨停】2月20日晚间,*ST金刚(300064)公告称,公司于2月18日收到通知,公司法定代表人、董事长郭留希因涉嫌违规不披露重要信息罪被公安机关依法采取强制措施,相关事项尚待公安机关进一步调查。
2.不过,今日*ST金刚大幅高开,不久即出现“20厘米”涨停。
3.2021年8月15日,*ST金刚(300064)公告,公司于8月13日收到证监会下发的行政处罚及市场禁入事先告知书,因涉嫌信息披露违法,公司实际控制人、时任董事长、董事会秘书郭留希被罚款1500万元。
4.据悉,2015年至2020年,*ST金刚进行了长期的系统性造假,而郭留希在涉案违法行为中起主要作用。
5.除罚款外,郭留希还被采取终身市场禁入措施,其他高管包括刘永奇、刘国炎、张超伟等被采取10年市场禁入措施。
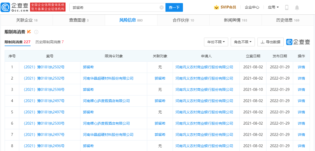
6.不过,企查查APP显示,目前郭留希已被限制高消费超二百次。
7.在郭留希被依法采取强制措施的同时,*ST金刚于2022年2月18日夜晚召开董事会紧急会议,与会董事一致同意免去郭留希先生董事长、不再代行董事会秘书职责,选举董事刘淼女士担任董事长、代行董事会秘书职责。
8.*ST金刚称,截至目前,公司经营情况正常。
盒子网






